
哈尔滨工业大学简称哈工大,2024年高考多少分能上哈尔滨工业大学呢?哈尔滨工业大学近三年录取分数线是多少?下面高考猿将整理分享哈尔滨工业大学历年最低分数线及2023年投档分数线位次排名,供有意报考哈尔滨工业大学的高三学生和家长参考。
一、哈工大最低多少分能录取?
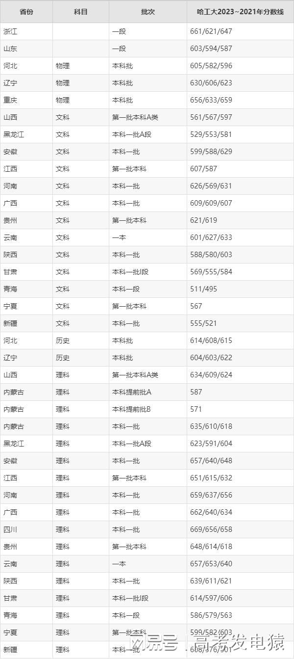
对于黑龙江文科本科批考生来说,参考2023年分数线,高考最低分要529起才能上哈尔滨工业大学。
对于黑龙江理科本科批考生来说,参考2023年分数线,高考最低分要579起才能上哈尔滨工业大学。
2024年有意报考哈尔滨工业大学的同学,建议重点以位次作参考,位次比分数相对准确。
2021~2023年,黑龙江文科本科批考生,高考排名893~933名就可以被哈尔滨工业大学录取。如果你是文科考生,2024年你的高考位次超过了893名,那么考上哈尔滨工业大学的概率就比较大。
2021~2023年,黑龙江理科本科批考生,高考排名1336~4334名就可以被哈尔滨工业大学录取。如果你是理科考生,2024年你的高考位次超过了1336名,那么考上哈尔滨工业大学的概率就比较大。
二、哈尔滨工业大学各省份近三年录取分数线
以下整理了哈尔滨工业大学在四川、广西、河南、云南、安徽、江西、贵州、陕西、内蒙古、山西、黑龙江、甘肃、新疆、宁夏、青海、浙江、重庆、辽宁、河北、山东等省份的近三年最低录取分数线,供2024年考生参考。
备注:表中,哈尔滨工业大学在浙江一段的分数为661/621/647,表示2023年是661分。2021年是647分。

看到这里,想必2024年高考生已经知道:大概多少分能上哈尔滨工业大学了!不过小编还要提醒大家:
哈尔滨工业大学2024年招生人数变化、招生专业变化,也会影响你被哈尔滨工业大学录取的概率。
三、哈工大选考科目要求

三、哈工大简介
哈工大隶属于工业和信息化部,学校住所地为黑龙江省哈尔滨市南岗区西大直街92号,同时在山东省威海市和广东省深圳市分别设有校区。学校始建于1920年,1951年被确定为全国学习国外高等教育办学模式的两所样板大学之一,1954年进入国家首批重点建设的6所高校行列,被誉为“工程师的摇篮”。学校于1996年进入国家“211工程”首批重点建设高校,1999年被确定为国家首批“985工程”重点建设的9所大学之一,2000年与同根同源的哈尔滨建筑大学合并组建新的哈工大,2017年入选“双一流”建设A类高校名单,2022年8个学科入选新一轮“双一流”建设名单。
本站通过AI自动登载部分优质内容,本文来自于网易号作者:高考发电猿,仅代表原作者个人观点,本站旨在传播优质文章,无商业用途。如不想在本站展示可联系删除